A39-year-old man with a history of AIDS and nonadherence to highly active antiretroviral therapy (HAART) presented with frontal headache and scalp pain of 2 weeks' duration. These symptoms were accompanied by nausea, weight loss, and generalized weakness. Physical examination revealed a small, tender scalp lump, 2 × 2 cm over the left parietal area. The findings from the rest of the examination were unremarkable.

A 39-year-old man with a history of AIDS and nonadherence to highly active antiretroviral therapy (HAART) presented with frontal headache and scalp pain of 2 weeks' duration. These symptoms were accompanied by nausea, weight loss, and generalized weakness. Physical examination revealed a small, tender scalp lump, 2 × 2 cm over the left parietal area. The findings from the rest of the examination were unremarkable.
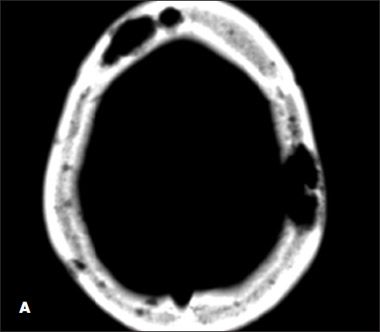
The patient had mild leukocytosis, anemia, and corrected calcium level of 11 mg/dL. Cerebrospinal fluid analysis yielded normal results. A brain CT scan showed multiple lytic lesions in the calvarium, with the largest in the left parietal bone (A). Abdominal CT revealed hepatosplenomegaly with low-attenuation lesions and scattered lucencies throughout the vertebral bodies (B).
On the fourth day of hospitalization, he had severe bone pain, vomiting, and lethargy. There was progressive increase in the serum calcium level, which reached a maximum of 14.5 mg/dL on the seventh day. The patient was hydrated and treated with furosemide, calcitonin, and pamidronate with good clinical response. He had normal levels of parathyroid hormone (PTH), PTH-related peptide (normal range, 14 to 27 pg/mL), and 1,25-dihydroxyvitamin D; urine electrophoresis results were also normal. Serological tests for human T-cell lymphotropic virus type I and type II were negative. A sputum sample was positive for acid-fast bacilli (AFB). Biopsy specimens from the scalp lesion and the liver revealed acute inflammatory cells and histiocytes laden with numerous AFB consistent with Mycobacterium avium-intracellulare complex (MAIC). The diagnosis of MAIC infection was confirmed by DNA hybridization of sputum, liver, and scalp specimens.

Hypercalcemia is a common metabolic emergency but is an unusual complication of disseminated MAIC infection in a patient with AIDS. MAIC causes disseminated infection in immunocompromised hosts when the CD4+ cell count is less than 50/μL. Hypercalcemia can be a result of immune reconstitution syndrome in HIV-infected patients receiving HAART.1 Other findings indicate that hypercalcemia in AIDS-associated MAIC infection is attributable to inappropriately elevated 1,25-dihydroxyvitamin D.2-4
Kaposi sarcoma or Mycobacterium haemophilum infection can lead to lytic lesions in bones.5,6 However, MAIC infection as a cause of lytic bone lesions has not been described. Further studies are needed to verify whether lytic lesions explain hypercalcemia in disseminated MAIC infection in persons with HIV/AIDS in the absence of elevated vitamin D levels.
REFERENCES:
1.
Ferrand RA, Elgalib A, Newsholme W, et al. Hypercalcaemia complicating immune reconstitution in an HIV-infected patient with disseminated tuberculosis.
Int J STD AIDS
. 2006;17:349-350.
2.
Playford EG, Bansal AS, Looke DF, et al. Hypercalcemia and elevated 1,25 (OH)(2)D(3) levels associated with disseminated
Mycobacterium avium
infection in AIDS.
J Infect
. 2001;42:157-158.
3.
Delahunt JW, Romeril KE. Hypercalcemia in a patient with the acquired immunodeficiency syndrome and
Mycobacterium avium intracellulare
infection.
J Acquir Immune Defic Syndr
. 1994;7:871-872.
4.
Choudhary M, Rose F. Posterior reversible encephalopathic syndrome due to severe hypercalcemia in AIDS.
Scand J Infect Dis
. 2005;37:524-526.
5.
Lefkowitz RA, Singson RD. Considering
Mycobacterium haemophilum
in the differential diagnosis for lytic bone lesions in AIDS patients who present with ulcerating skin lesions.
Skeletal Radiol
. 1998;27:334-336.
6.
Aboulafia AJ, Khan F, Pankowsky D, Aboulafia DM. AIDS-associated secondary lymphoma of bone: a case report with review of the literature.
Am J Orthop (Belle Mead, NJ).
1998;27:128-134.